操作菜單“標注”→“直徑”,命令行窗口提示“選擇圓弧或圓:”,在要標注的圓上點擊一下,將鼠標向圓外稍微拖動一下再點擊一次,直徑就標注好了,像圖1中φ25的樣子,這是CAD的默認樣式,選中它之后右擊鼠標,在快捷菜單里點選“標注文字位置”→“單獨移動文字”,拖動文字到圓內尺寸線上方就能夠得到圖中φ80的樣子。選中直徑標注,點擊激活位于圓上的夾點,拖動鼠標能夠改變標注的傾斜角度。
標注半徑的方法和標注直徑十分相似,操作菜單“標注”→“半徑”,命令行窗口提示“選擇圓弧或圓:”,在要標注半徑的圓弧上點擊一下,稍微拖動一下鼠標再點擊一次,半徑就標注好了,像圖1中的兩種樣子那樣。選中半徑標注,點擊激活位于圓弧上的夾點,拖動鼠標能夠改變標注的傾斜角度。

角度的標注非常簡單,操作菜單“標注”→“角度”,依次點擊構成夾角的兩條直線,然后拖拉鼠標到出現合適的標注樣式的時候再次點擊鼠標,角度就標注好了。像圖2中角度135°的樣子。
還能夠對圓弧的角度進行標注,操作菜單“標注”→“角度”,點擊圓弧,拖拉鼠標到出現合適的標注樣式的時候再次點擊鼠標,完成標注,就像圖2中圓弧角45°那樣。

“引線”的用處很多,常用來標注零部件編號、倒角等等。
第一步,操作菜單“標注”→“引線”,命令行窗口提示“指定第一個引線點或 [設置(S)] <設置>:”,直接回車進入“引線設置”對話框,一般情況下需要更改的設置在“引線和箭頭”和“附著”兩個選項卡里。
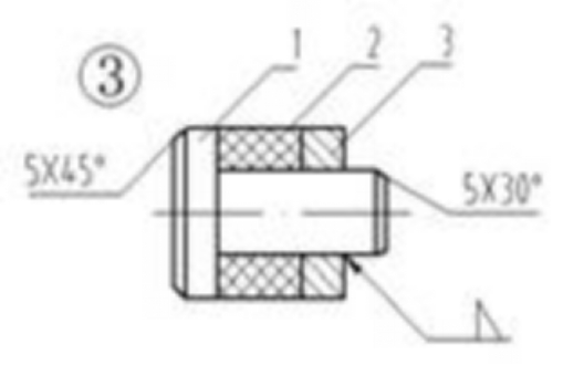
在“引線和箭頭”選項卡里要選定引線有無箭頭以及箭頭的樣式,還要選定第一段和第二段引線的角度,圖3里標注5×30°倒角的第一段引線的約束角度設置為30°,其余的第一段引線的約束角度設置為45°,大多情況下第二段引線的約束角度設置成“水平”。
在“附著”選項卡里選中“最后一行加下劃線”。
設置好以后點擊“確定”關閉“引線設置”對話框。
第二步,命令行窗口再一次提示“指定第一個引線點或 [設置(S)] <設置>:”,在倒角處引線開始的地方點擊鼠標。
第三步,命令窗口接著提示“指定下一點:”,向斜方向拖動鼠標到斜線結束的地方點擊一下。
第四步,命令窗口再次提示“指定下一點:”,將鼠標向水平方向拖動很短一段距離后在點擊一下。
第五步,命令行窗口提示:“指定文字寬度:”,不必理會它,直接點擊鼠標。
第六步,命令行窗口提示:“輸入注釋文字的第一行 <多行文字(M)>:”,在命令行窗口輸入文字,比如“5X45%%d”,接著回車。文字中用大寫的x代替乘號,效果也很好。
第七步,命令行窗口提示:“輸入注釋文字的下一行:”,如果沒有第二行文字就直接回車。倒角5×45°就標注完成了。
如果在第六步里不輸入文字就直接按“Esc”鍵,就得到一個沒有標注文字的引線,以便像圖3里右下角的引線那樣用來繪制特殊的標識符號。

推薦閱讀:CAD培訓
· 先鋒匯聚|8月27日-28日廣州,邀您共赴工業軟件國際盛會2025-08-14
· 中望軟件數智化轉型峰會廈門站成功舉辦,“CAD+”戰略賦能福建工業可持續創新2025-07-31
· 中望軟件西安峰會圓滿召開,“數智賦能”助推西部工業轉型升級2025-07-02
· 中望軟件杭州峰會成功舉辦,“CAD+”賦能浙江智造縱深發展2025-06-25
·中望3D 2026全球發布:開啟設計仿真制造協同一體化時代2025-06-13
·中望軟件攜手鴻蒙、小米共建國產大生態,引領工業設計新時代2025-06-01
·中望軟件2025年度產品發布會圓滿舉行:以“CAD+”推動工業可持續創新2025-05-26
·中望CAD攜手鴻蒙電腦,打造“多端+全流程”設計行業全場景方案2025-05-13
·玩趣3D:如何應用中望3D,快速設計基站天線傳動螺桿?2022-02-10
·趣玩3D:使用中望3D設計車頂帳篷,為戶外休閑增添新裝備2021-11-25
·現代與歷史的碰撞:阿根廷學生應用中望3D,技術重現達·芬奇“飛碟”坦克原型2021-09-26
·我的珠寶人生:西班牙設計師用中望3D設計華美珠寶2021-09-26
·9個小妙招,切換至中望CAD竟可以如此順暢快速 2021-09-06
·原來插頭是這樣設計的,看完你學會了嗎?2021-09-06
·玩趣3D:如何巧用中望3D 2022新功能,設計專屬相機?2021-08-10
·如何使用中望3D 2022的CAM方案加工塑膠模具2021-06-24
·CAD快速打印多個圖紙的方法2021-02-19
·如何解決CAD圖案無法填充,和顯示已有邊界重復問題2017-03-06
·CAD機械版將明細表中的序號設置為降序的方法2024-09-11
·CAD三維多段線合并2015-10-22
·CAD如何定義塊屬性2016-03-15
·CAD格式刷命令符格式刷怎么用2016-10-11
·CAD工具欄的工具條無法拖動怎么辦2018-05-25
·CAD中如何把一條直線從某點切斷2018-05-16





