軸測圖立體感強、直觀性好,在工程上廣泛應用,但其尺寸標注麻煩,許多人標注不規范,根據機械制圖國家標準的規定,結合工作實踐,現闡述CAD中軸測圖的尺寸標注方法如下。
1、錯誤的標注:

這是用“線性”標注,顯然是很錯誤的。

這是用“對齊”標注,也不對。
2、正確的標注是:


正確標注的原則是:
(1)尺寸數字的方向與尺寸界線的方向一致;
(2)尺寸數字與尺寸線、尺寸界線在一個平面內。
3、標注方法:
(1)用“標注”——“傾斜”菜單命令,選中400的尺寸,捕捉長方體的端點為基點,給出傾斜的方向:

(2)確定后,尺寸界線發生了傾斜,符合了標注要求,但尺寸數字還是不正確。此時應該把尺寸數字旋轉-30度:

(3)打開“文字樣式”,新建二個新樣式,樣式名為“30”和“-30”,傾斜角度分別是+30度和-30度:


(4)選中400尺寸,將其置于-30的文字樣式中,立刻得到正確的標注:

(5)同樣用“標注”——“傾斜”菜單命令,給出傾斜方向,得到:

(6)將400文字旋轉+30度,得到正確的標注:

(7)用相同的“傾斜”和“旋轉”方法,得到寬度和高度方向的正確標注:




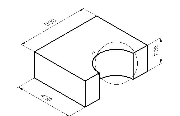
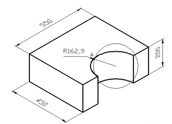
4、圓的尺寸標注:
(1)圓的軸測圖為橢圓,不能直接標注:

(2)以橢圓的中心為圓心,適當長為半徑,畫一個圓,與橢圓相交于A點:

(3)標注圓的半徑,箭頭盡量靠近A點,尺寸是不對的:

(4)用ED命令修改錯誤的R162.9,改為正確的R150,并刪除標記A和輔助圓,得到正確的標注:

推薦閱讀:CAD培訓
· 先鋒匯聚|8月27日-28日廣州,邀您共赴工業軟件國際盛會2025-08-14
· 中望軟件數智化轉型峰會廈門站成功舉辦,“CAD+”戰略賦能福建工業可持續創新2025-07-31
· 中望軟件西安峰會圓滿召開,“數智賦能”助推西部工業轉型升級2025-07-02
· 中望軟件杭州峰會成功舉辦,“CAD+”賦能浙江智造縱深發展2025-06-25
·中望3D 2026全球發布:開啟設計仿真制造協同一體化時代2025-06-13
·中望軟件攜手鴻蒙、小米共建國產大生態,引領工業設計新時代2025-06-01
·中望軟件2025年度產品發布會圓滿舉行:以“CAD+”推動工業可持續創新2025-05-26
·中望CAD攜手鴻蒙電腦,打造“多端+全流程”設計行業全場景方案2025-05-13
·玩趣3D:如何應用中望3D,快速設計基站天線傳動螺桿?2022-02-10
·趣玩3D:使用中望3D設計車頂帳篷,為戶外休閑增添新裝備2021-11-25
·現代與歷史的碰撞:阿根廷學生應用中望3D,技術重現達·芬奇“飛碟”坦克原型2021-09-26
·我的珠寶人生:西班牙設計師用中望3D設計華美珠寶2021-09-26
·9個小妙招,切換至中望CAD竟可以如此順暢快速 2021-09-06
·原來插頭是這樣設計的,看完你學會了嗎?2021-09-06
·玩趣3D:如何巧用中望3D 2022新功能,設計專屬相機?2021-08-10
·如何使用中望3D 2022的CAM方案加工塑膠模具2021-06-24
·CAD 怎么使用極軸陣列2018-12-06
·CAD加載VBA程序或建立VBA工程失敗怎么辦?2024-06-12
·CAD如何標注圓半徑2017-08-16
·CAD的文件清理命令2020-02-28
·在CAD中快速查找和替換文字2021-10-11
·CAD繪制小推車2022-09-14
·CAD如何使用塊遮住區域2019-08-20
·CAD旋轉樓梯怎么畫2020-03-04





